瑞幸咖啡发布财报数据显示股壹佰股壹佰,第二季度净营收123.59亿元,上年同期84.03亿元;归属公司普通股东净利润12.51亿元股壹佰,上年同期8.71亿元。
举报 第一财经广告合作,请点击这里此内容为第一财经原创,著作权归第一财经所有。未经第一财经书面授权,不得以任何方式加以使用,包括转载、摘编、复制或建立镜像。第一财经保留追究侵权者法律责任的权利。如需获得授权请联系第一财经版权部:banquan@yicai.com 相关阅读
杠杆资金本周重仓股曝光 长江电力居首杠杆资金本周重仓股曝光 长江电力居首
0 2024-12-01 11:36
汇金科技今日20cm涨停,三机构净卖出1.18亿元汇金科技今日20cm涨停,三机构净卖出1.18亿元
0 2024-11-29 16:27
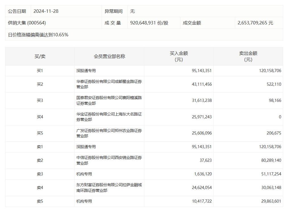
供销大集今日涨停,二机构净卖出6892.70万元供销大集今日涨停,二机构净卖出6892.70万元
0 2024-11-28 16:25
四川九洲今日跌停,二机构净卖出1.48亿元四川九洲今日跌停,二机构净卖出1.48亿元
0 2024-11-26 16:33
和而泰今日跌9.97%股壹佰,方新侠席位净卖出1.49亿元和而泰今日跌9.97%,方新侠席位净卖出1.49亿元
0 2024-11-26 16:31 一财最热 点击关闭龙辉配资提示:文章来自网络,不代表本站观点。